Adamson has always looked to reproduce audio as naturally as possible through fundamental loudspeaker design and refinement of components and processes. This dedication has led to our ability to produce products that translate any type of acoustic information with clarity, presence and power. First and foremost we’re an engineering and manufacturing company. This has always been and will continue to be our mandate. Out of this ideology have come many key developments and patents that have helped shape the professional audio industry.
Controlled Summation Technology
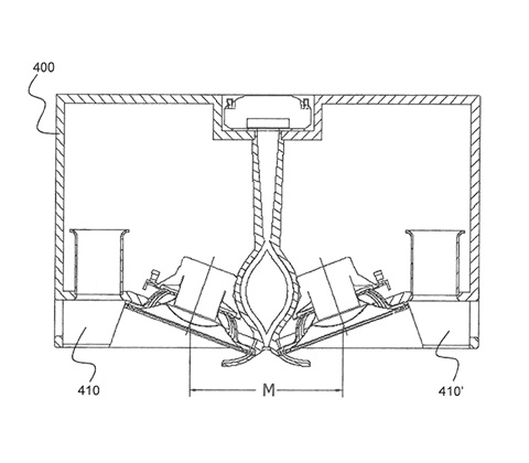
Controlled Summation Technology: Outwardly splayed low mid transducers allow for the acoustic centers to be placed in closer proximity to each other, recessed behind the exit of a high frequency wave shaping device. A DSP controlled overlap is then implemented that virtually eliminates mid-lobing normally associated with 2-way line source systems.


Advanced Cone Architecture
Highly engineered cone designs, manufactured with Kevlar®, raise the frequency of radial cone modes and increase the linearized pass band in our low-mid frequency components.
Co-Linear Drive Module
A highly innovative Co-entrant Mid/High device feeds two complex sound chambers in one module. A high frequency compression driver mounts coaxially to the back plate of a mid frequency compression driver and both are then mounted to the drive module. The concentric slotted phase plug that controls the mid frequency entry converts the concentric rings to vertical slots which result in a flat wavefront. The high chamber is a cellular design that adjusts both the path length and the vector of high frequency energy, resulting in a wavefront with reduced curvature.


Rigging Systems
Our rigging systems allow for an entire large scale audio system to be suspended by a single engineer. Using a scaled angle system means more finite control over how our line source systems sum in the far field. Both the Autolock (E-Series) and AIR (Metrix & SpekTrix) rigging systems are patented.